
L’intelligence artificielle poursuit sa conquête du monde du jeu vidéo, et Sony semble bien décidé à en repousser les limites. En septembre 2024, le géant japonais de l’électronique a déposé un brevet pour une technologie aussi intrigante qu’audacieuse : une IA capable de jouer à la place du joueur. Cette semaine, le dépôt a été rendu public par l’Organisation mondiale de la propriété intellectuelle (OMPI), mettant en lumière une innovation qui pourrait, si elle se concrétise, bouleverser l’expérience vidéoludique telle que nous la connaissons.
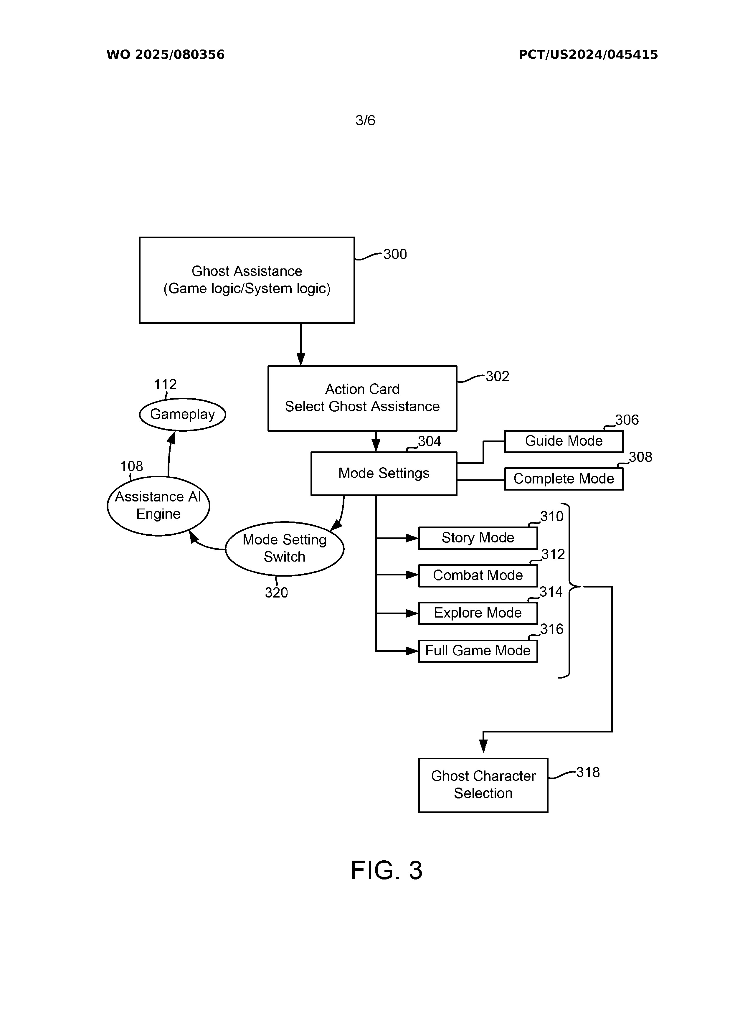
Le concept ? Créer un « double numérique » du personnage jouable, une sorte de fantôme guidé par l’IA. Celui-ci pourrait soit montrer la marche à suivre, soit résoudre directement une action, comme un puzzle ou un combat. Le joueur reprend ensuite la main pour poursuivre l’aventure, à la manière d’un copilote numérique. L'idée rappelle le "Mode Guide" et le "Mode Terminer", deux fonctions décrites dans le brevet et illustrées par des exemples concrets, comme celui de la célèbre licence Uncharted.
Mais comme toujours avec les brevets, une question reste en suspens : cette technologie deviendra-t-elle un jour une réalité pour les joueurs, ou restera-t-elle un concept de laboratoire ? Plongeons ensemble dans les détails de cette idée fascinante.
Sony et le dépôt du brevet : contexte et enjeux
Qui est Sony et pourquoi les brevets comptent dans le jeu vidéo
Sony n’est pas un simple acteur du jeu vidéo : c’est un pilier de l’industrie depuis des décennies. Avec sa marque PlayStation, l’entreprise a redéfini les standards de jeu à plusieurs reprises, que ce soit avec la manette DualSense, le PSVR ou ses nombreux titres exclusifs. Si Sony dépose régulièrement des brevets, ce n’est pas seulement pour protéger ses idées, mais aussi pour garder une longueur d’avance sur ses concurrents, qu’il s’agisse de Microsoft, Nintendo ou des studios de développement indépendants innovants.
Dans l’univers compétitif du gaming, chaque brevet est une pièce sur l’échiquier stratégique. Il permet à la firme de réserver une technologie potentielle tout en explorant des concepts qui pourraient façonner le futur du jeu vidéo.
"Les brevets ne sont pas des promesses, mais des pistes d’innovation."
Une chronologie : dépôt en septembre 2024 et publication par l’OMPI
Le brevet en question a été déposé en septembre 2024, dans la plus grande discrétion. Ce n’est que cette semaine, au début janvier 2026, que son contenu a été rendu public par l’OMPI (Organisation mondiale de la propriété intellectuelle). Cette publication permet à tous – joueurs, développeurs, analystes – de jeter un œil sur une idée qui, si elle se concrétise, pourrait bien transformer notre manière d’interagir avec un jeu.
Il est important de noter que cette latence entre le dépôt et la publication est normale : le traitement, l’étude et la validation des documents techniques prennent du temps, surtout dans le cas d’innovations complexes.
Ce que révèle le document de propriété intellectuelle
Le brevet ne parle pas de simples aides contextuelles ou de tutoriels interactifs. Il décrit une IA proactive, capable de prendre le contrôle d’un personnage pour aider – ou remplacer – le joueur lors d’une session de jeu. Cette intelligence artificielle serait entraînée à partir de vidéos existantes du gameplay, ce qui lui permettrait d’apprendre les meilleures façons de résoudre une situation.
Deux modes distincts sont proposés :
- Le Mode Guide, où l’IA montre comment faire sans intervenir directement.
- Le Mode Terminer, où l’IA exécute l’action entière, avant de redonner le contrôle au joueur.
Cette technologie, selon le brevet, pourrait créer un double du joueur contrôlé par l’IA, un peu comme un "fantôme intelligent", illustrant le chemin à suivre ou agissant comme une solution instantanée.
L’intelligence artificielle proposée : fonctionnement et objectifs
L’IA comme « assistant fantôme » dans le jeu
Le cœur du brevet repose sur une idée fascinante : l’intelligence artificielle ne serait plus un simple outil de l’environnement de jeu, mais une entité capable de jouer avec ou à la place du joueur. L’IA se matérialiserait sous la forme d’un personnage fantôme, une sorte de clone numérique du protagoniste contrôlé par l’utilisateur. Ce double pourrait apparaître à tout moment dans la partie, selon les besoins du joueur ou les paramètres définis par le système.
Cette innovation ne se limite pas à du simple pathfinding ou à des tutoriels : elle vise à reproduire des comportements de jeu réels, efficaces et contextuellement adaptés, entraînés à partir de parties précédentes ou de sessions vidéo.
Mode Guide : aide et démonstration d’actions
Dans le Mode Guide, l’intelligence artificielle n’intervient pas directement dans l’univers du joueur, mais montre ce qu’il faudrait faire. Ce mode serait particulièrement utile dans des contextes complexes ou lors de séquences de résolution d’énigmes.
Prenons Uncharted comme exemple, cité dans le brevet : face à une énigme tordue, un second Nathan Drake apparaîtrait à l’écran et exécuterait les gestes nécessaires pour résoudre le casse-tête. L’idée ? Fournir un repère visuel clair au joueur sans lui retirer le contrôle ni l'immersion.
Cela pourrait transformer la manière dont les studios pensent les aides en jeu : au lieu de simples bulles de texte ou de symboles clignotants, le joueur assisterait à une démonstration contextuelle dynamique, parfaitement intégrée au gameplay.
Mode Terminer : l’IA qui joue à ta place
Encore plus radical, le Mode Terminer permettrait à l’IA de prendre le relais totalement. Que ce soit pour une énigme complexe, un passage de plateforme délicat ou même un affrontement trop difficile, le joueur pourrait choisir de laisser l’IA terminer la séquence, avant de reprendre la main.
"Imaginez une IA qui ne vous montre pas seulement la solution… mais qui la réalise pour vous."
Ce mode pose bien sûr la question de la valeur du challenge et de l’implication du joueur, mais il ouvre aussi des perspectives pour l’accessibilité et la personnalisation de l’expérience vidéoludique.
Entraînement basé sur des vidéos existantes
L’un des aspects les plus intrigants du brevet est la source d’apprentissage de cette IA : elle serait entraînée à partir de vidéos de gameplay déjà existantes. Cela signifie que l’IA n’a pas besoin d’une programmation spécifique pour chaque jeu, mais pourrait s’adapter en observant comment d’autres joueurs interagissent avec l’environnement.
Cela offre plusieurs avantages :
- Un temps de développement réduit pour les studios.
- Une adaptabilité à différents styles de jeu.
- La possibilité d’avoir une IA qui apprend de l’expérience collective des joueurs, et pas seulement d’un script.
Ce principe d’apprentissage par imitation pourrait devenir une norme, en particulier si Sony parvient à le rendre modulaire et facile à intégrer dans les futurs titres PlayStation.

Impacts potentiels sur l’expérience de jeu
Pour les joueurs : aide bienvenue ou trop intrusive ?
L’ajout d’une IA capable de jouer à la place du joueur soulève une question centrale : à quel point veut-on que le jeu joue à notre place ? D’un côté, cette technologie pourrait être une bénédiction pour les joueurs occasionnels, les personnes en situation de handicap, ou ceux qui souhaitent simplement éviter un passage particulièrement frustrant. D’un autre côté, cela pourrait créer une forme de dépendance à l’assistance, réduisant le plaisir d’apprentissage et de progression propre aux jeux vidéo.
Le danger ? Perdre la sensation de mérite liée à la résolution de défis, à la manière d’une triche "légalisée" par le système.
"Si c’est l’IA qui gagne à ma place, est-ce encore ma victoire ?"
Sur la difficulté et la satisfaction du joueur
L’un des fondements du jeu vidéo est le challenge. La courbe de difficulté, l’échec et la réussite sont des éléments clés qui renforcent l’engagement et la satisfaction. Une IA trop performante, si elle est trop facilement accessible, risque de court-circuiter cette dynamique.
Cependant, tout dépend de l’implémentation. Si l’option d’aide est bien intégrée, elle pourrait préserver la difficulté pour ceux qui la recherchent, tout en offrant une porte de sortie ponctuelle pour les autres. Cela ouvre la voie à des jeux plus modulables, où l'expérience s’adapte au joueur, et non l’inverse.
Risques de dépendance à l’IA de jeu
Il ne faut pas sous-estimer un autre risque plus insidieux : celui de l’habituation. Si les joueurs s’habituent à utiliser l’IA pour chaque obstacle, cela pourrait altérer leur capacité à apprendre les mécaniques du jeu, et à s’immerger pleinement dans l’univers proposé.
De plus, dans les jeux compétitifs ou les expériences en ligne, cette technologie pourrait créer des déséquilibres, si elle venait à être intégrée d’une manière ou d’une autre. Heureusement, le brevet semble viser uniquement des jeux solo ou des contextes narratifs.
Enfin, sur le long terme, l’acceptation de l’IA comme intervenant direct dans le gameplay pourrait transformer la relation joueur-jeu, en la rendant moins active et plus spectatrice.
Les limites d’un brevet face à une fonctionnalité réelle
Un brevet ne garantit pas une future fonctionnalité
Il est important de garder à l’esprit que le dépôt d’un brevet n’est pas une annonce de produit. Dans l’industrie technologique, des centaines de brevets sont déposés chaque année par les grands groupes comme Sony, Microsoft ou Nintendo, mais seule une petite portion se concrétise réellement. Il s’agit souvent d’expérimentations en R&D, conçues pour protéger une idée en amont de son éventuelle exploitation, mais qui ne verront jamais le jour dans les produits commerciaux.
Sony lui-même a déjà déposé des technologies intéressantes (comme des manettes thermiques ou des systèmes de réalité augmentée avancés) sans jamais les commercialiser.
Cas passés où des brevets n’ont jamais vu le jour
Parmi les exemples marquants, on peut citer :
- Le brevet de manette biométrique pour PS5, censée lire les émotions du joueur.
- Un concept de jeu adaptatif selon la météo réelle, évoqué il y a quelques années.
- Un système de publicités interactives dans les jeux PlayStation, qui n’a jamais été lancé (heureusement, diront certains).
Ces brevets avaient fait parler d’eux à l’époque, mais sont restés lettre morte. Cela rappelle que le passage de l’idée au produit dépend de multiples facteurs : faisabilité technique, budget, intérêt commercial, réception potentielle du public...
Les prochaines étapes possibles chez Sony
Si Sony décidait d’aller plus loin avec cette IA, plusieurs étapes seraient nécessaires :
- Prototypage en interne, sans nécessairement être visible du public.
- Tests sur des jeux existants, notamment des titres propriétaires comme Uncharted ou The Last of Us.
- Présentation dans un événement officiel comme un PlayStation Showcase ou la GDC (Game Developers Conference).
- Enfin, une intégration dans un futur titre, en option ou comme fonction expérimentale.
Sony pourrait également choisir de licencier cette technologie à d’autres développeurs, ou de l’intégrer dans ses outils propriétaires utilisés par ses studios first-party.
En quelques mots
Le brevet déposé par Sony en septembre 2024, désormais rendu public par l’OMPI, ouvre la voie à une nouvelle forme d’assistance intelligente dans le jeu vidéo. Avec son IA capable de jouer à la place du joueur – que ce soit pour guider ou pour exécuter des actions – l’entreprise japonaise pose une question fascinante : où s’arrête le rôle du joueur, et où commence celui de la machine ?
Bien que cette innovation puisse être révolutionnaire en termes d’accessibilité et de personnalisation, elle soulève aussi des interrogations éthiques et ludiques : le jeu reste-t-il un jeu si une IA en prend le contrôle ? Cela remet en cause notre rapport à la difficulté, à la progression, et même à l’accomplissement personnel dans un univers vidéoludique.
Mais rappelons-le : il ne s’agit pour l’instant que d’un brevet. Rien ne garantit que cette technologie sera un jour intégrée dans une PlayStation ou un jeu. Il est donc trop tôt pour parler de bouleversement, mais pas trop tôt pour réfléchir à ce qu’il impliquerait. Une chose est sûre : l’avenir du jeu vidéo sera aussi façonné par l’intelligence artificielle, et Sony entend bien jouer un rôle central dans cette évolution.